亚马逊近日宣布,已获得一项无人机技术专利,可直接与送货车配对。如果取得成果,亚马逊可以通过将大部分工作外包给其自动化无人机来优化最后一英里的交付服务。

(图源网络,侵删)
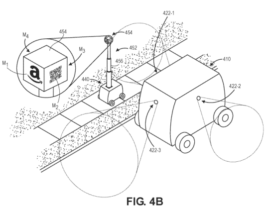
专利文本中表述,该系统包括一个主要车辆,用于运送目的地为多个投递点的包裹,以及一个次要的、小得多的辅助车辆,将包裹从主要车辆运送到最终目的地。具有摄像头或其他传感器的主要车辆生成或传输指令,使辅助车辆(例如个人送货设备)以选定的路线和速度行驶。

(图源美国专利商标局)
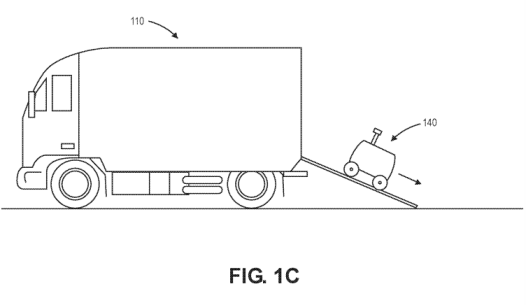
在他们的应用中,主要货车仍然由人类驾驶。但是主要货车装载技术指挥,旨在帮助小型自动辅助送货车。例如,当货车开到一栋房子前,房子及其外部将被扫描和研究,以确定辅助车辆的最佳路径。一旦确定了路径,包裹将被发送到辅助车辆,滚下斜坡。

(图源美国专利商标局)
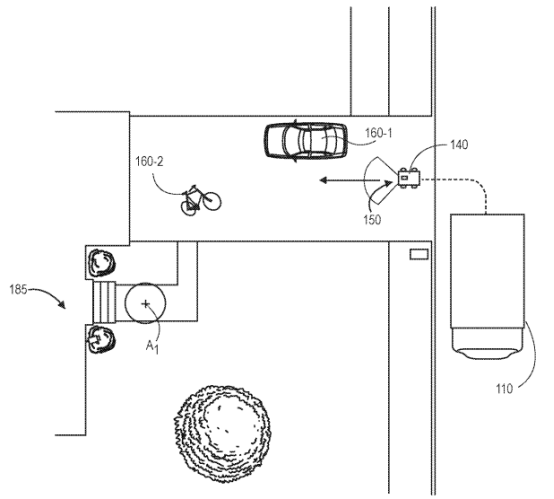
当辅助车辆行驶时,货车将监控其进度,并在必要时发送更新信息。辅助车辆还将配备摄像头和导航设备,在旅途中,它会将图像以及与可能的障碍或问题相关数据一起发送回主车辆。包裹送达后,两辆车将协同工作,确保第二辆车安全返回。

(图源美国专利商标局)
也就是说,亚马逊包裹的收件人有朝一日可能会看到送货车直接部署和控制无人机投放订单。更重要的是,这些无人机不需要配备昂贵的传感器和摄像头。相反,所有这些信息收集技术都将集中在货车中,能够通过WiFi或其他网络传输到无人机车队。
从货车上飞出的无人机听起来很酷,想象一下,如果货轮可以在不停靠码头的情况下卸下货物,或者一列城市火车可以在公寓高楼中疾驰而过,同时边放出携带包裹的无人机。通过将一组辅助无人机与主要运载工具连接起来,似乎这些事情都有了可能。

(图源美国专利商标局)
近几年,亚马逊一直在研究修补无人机技术,但是很少有人尝试直接从火车上发送和控制他们。通过这项新技术,有望把原本效率低下的运输工具变成辅助工具,货车把大部分跑腿工作委派给它的无人机下属,同时在幕后主持整个行动。

(图源网络,侵删)
包括其他运输物流公司,也在抢占这样新领域技术,例如UPS,一直在研究使用各种技术手段将包裹从仓库直接运送到消费者手中的可能性,包括部署装有机器人的无人驾驶货车,以及可以直接飞向客户或从降落伞投下包裹的无人机,其研究重点是提高效率和降低成本。
亚马逊的一位发言人表示,“与许多公司一样,我们提交了许多前瞻性专利申请,探索新技术的全部可能性。专利需要多年才能获得,并不一定反映产品和服务的当前发展。” 因此,最好对这项新专利持谨慎态度,但亚马逊在18个月前申请了该专利,这表明该公司最近已将新的无人机技术纳入进程。如果亚马逊确实决定追求其新专利技术,那么可能性是无穷无尽的。



